


JNIJ中間軸型膜片聯軸器主要靠聯軸器中間的彈性金屬膜片來傳遞兩軸之間的轉矩,具有減振吸振、無磨損、無需維護的優點,是替代齒式聯軸器及一般聯軸器的理想產品。
JNIJ中間軸型膜片聯軸器變形來補償所聯兩軸的相對位移,是一種性能穩定的金屬彈性元件撓性聯軸器,不用潤滑,結構較緊湊,強度好,使用壽命長,無旋轉間隙,不受溫度和油污影響,具有耐酸、耐堿、性能穩定的特點。
JNIJ中間軸型膜片聯軸器適用于高溫、高速、有腐蝕介質工況環境的軸系傳動,廣泛用于各種機械裝置的軸系傳動,如水泵(尤其是大功率、化工泵)、風機、壓縮機、液壓機械、石油機械、印刷機械、紡織機械、化工機械、礦山機械、冶金機械、航空(直升飛機)、艦艇高速動力傳動系統,經動平衡后應用于高速傳動軸系已比較普遍。與齒式聯軸器相比,沒有相對滑動,不需要潤滑、密封,無噪聲,基本不用維修,制造較方便,可部分代替齒式聯軸器,膜片聯軸器在口碑上工業發達家園應用已很普遍,在實際應用中一般采用接中間軸型,以提高兩軸線偏移補償性能。
JNIJ中間軸型膜片聯軸器主要特性:
1、補償兩軸線不對中的能力好,與齒式聯軸器相比角位移可大一倍,徑向位移時反力小,撓性大,允許有確定的軸向、徑向和角向位移。
2、具有明顯的減震作用,無噪聲,無磨損。
3、傳動效率不錯,可達90%。特別適用于中、高速大功率傳動。
4、適應高溫(-80+300)和惡劣環境中工作,并能在有沖擊、振動條件下安然動行。
5、結構簡單、重量輕、體積小、裝拆方便。不必移動機器即可裝拆(指帶中間軸型式),不需潤滑。
6、能準確傳遞轉速,運轉無轉差,可用于細致機械的傳動。JMI型膜片聯軸器廣泛應用于冶金、礦山、石油、化工、電力、船舶、起重運輸、紡織、輕工、農機、印刷機械和水泵、風機、機床等行業的機械設備中傳遞動力。
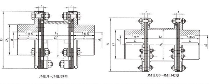
型號 | 公稱扭矩N.m | 瞬時轉矩N.m | 轉速r/min | 軸孔直徑 d 1 、d 2 | 軸孔長度 | D | D1 | D2 | 重量 kg | 轉動 慣量 kg.m2 | |||
J 1 型 | Y型 | L(推薦 ) | |||||||||||
L | L | L1min質量 | 每增加1m | ||||||||||
JMⅡJ1 | 63 | 100 | 9300 | 20、22、24 | 38 | 52 | 40 | 92 | 70 | 8±0.2 | 2 | 4.1 | 0.002 |
25、28 | 44 | 62 | |||||||||||
30、32、35、38 | 60 | 82 | |||||||||||
JMⅡJ2 | 100 | 200 | 8400 | 25、28 | 44 | 62 | 45 | 102 | 80 | 8±0.2 | 2.9 | 4.1 | 0.003 |
30、32、35、38 | 60 | 82 | |||||||||||
40、42、45 | 84 | 112 | |||||||||||
JMⅡJ3 | 250 | 400 | 6700 | 30、32、35、38 | 60 | 82 | 55 | 128 | 96 | 11±0.2 | 5.7 | 8 | 0.009 |
40、42、45、48、55 | 84 | 112 | |||||||||||
JMⅡJ4 | 500 | 800 | 5900 | 35、38 | 60 | 82 | 65 | 145 | 116 | 11±0.3 | 8.5 | 8 | 0.017 |
40、42、45、48、55、56 | 84 | 112 | |||||||||||
60、63、65 | 107 | 142 | |||||||||||
JMⅡJ5 | 800 | 1250 | 5100 | 40、42、45、48、55、56 | 84 | 112 | 75 | 168 | 136 | 14±0.3 | 12.5 | 12 | 0.034 |
60、63、65、70、71、75 | 107 | 142 | |||||||||||
JMⅡJ6 | 1250 | 2000 | 4750 | 45、48、55、56 | 84 | 112 | 80 | 180 | 140 | 15±0.4 | 16.5 | 12 | 0.053 |
60、63、65、70、71、75 | 107 | 142 | |||||||||||
80 | 132 | 172 | |||||||||||
JMⅡJ7 | 2000 | 3150 | 4300 | 50、55、56 | 84 | 112 | 80 | 200 | 140 | 15±0.4 | 21 | 19 | 0.082 |
60、63、65、70、71、75 | 107 | 142 | |||||||||||
80、85 | 132 | 172 | |||||||||||
JMⅡJ8 | 2500 | 4000 | 4200 | 55、56 | 84 | 112 | 80 | 205 | 140 | 20±0.4 | 23 | 19 | 0.092 |
60、63、65、70、71、75 | 107 | 142 | |||||||||||
80、85 | 132 | 172 | |||||||||||
JMⅡJ9 | 3150 | 5000 | 4000 | 55、56 | 84 | 112 | 90 | 215 | 160 | 20±0.4 | 27 | 21 | 0.117 |
60、63、65、70、71、75 | 107 | 142 | |||||||||||
80、85、90 | 132 | 172 | |||||||||||
JMⅡJ10 | 4000 | 6300 | 3650 | 60、63、65、70、71、75 | 107 | 142 | 100 | 235 | 170 | 23±0.5 | 36 | 21 | 0.191 |
80、85、90、95 | 132 | 172 | |||||||||||
JMⅡJ11 | 5000 | 8000 | 3400 | 60、63、65、70、71、75 | 107 | 142 | 100 | 250 | 170 | 23±0.5 | 42 | 26 | 0.252 |
80、85、90、95 | 132 | 172 | |||||||||||
100 | 167 | 142 | |||||||||||
JMⅡJ12 | 6300 | 10000 | 3200 | 60、63、65、70、71、75 | 107 | 172 | 110 | 270 | 190 | 23±0.5 | 50 | 26 | 0.349 |
80、85、90、95 | 132 | 172 | |||||||||||
100、110 | 167 | 212 | |||||||||||
JMⅡJ13 | 8000 | 12500 | 2850 | 65、70、71、75 | 107 | 142 | 115 | 300 | 200 | 27±0.6 | 66 | 47 | 0.56 |
80、85、90、95 | 132 | 172 | |||||||||||
100、110 | 167 | 212 | |||||||||||
JMⅡJ14 | 10000 | 16000 | 2700 | 70、71、75 | 107 | 142 | 125 | 320 | 220 | 27±0.6 | 78 | 47 | 0.75 |
80、85、90、95 | 132 | 172 | |||||||||||
100、110、120、125 | 167 | 212 | |||||||||||
JMⅡJ15 | 12500 | 20000 | 2450 | 75 | 107 | 142 | 140 | 350 | 240 | 32±0.7 | 110 | 51 | 1.26 |
80、85、90、95 | 132 | 172 | |||||||||||
100、110、120、125 | 167 | 212 | |||||||||||
130 | 202 | 142 | |||||||||||
JMⅡJ16 | 16000 | 25000 | 2300 | 90、95 | 132 | 172 | 145 | 370 | 250 | 32±0.7 | 125 | 72 | 1.63 |
100、110、120、125 | 167 | 212 | |||||||||||
130、140 | 202 | 252 | |||||||||||
JMⅡJ17 | 20000 | 31500 | 2150 | 90、95 | 132 | 172 | 165 | 400 | 290 | 32±0.7 | 160 | 72 | 2.45 |
100、110、120、125 | 167 | 212 | |||||||||||
130、140、150 | 202 | 252 | |||||||||||
160 | 242 | 172 | |||||||||||
JMⅡJ18 | 25000 | 40000 | 1950 | 100、110、120、125 | 167 | 212 | 175 | 440 | 300 | 38±0.9 | 220 | 72 | 3.99 |
130、140、150 | 202 | 252 | |||||||||||
160、170、180 | 242 | 302 | |||||||||||
JMⅡJ19 | 31500 | 50000 | 1850 | 120、125 | 167 | 212 | 185 | 460 | 320 | 38±0.9 | 245 | 89 | 4.98 |
130、140、150 | 202 | 252 | |||||||||||
160、170、180 | 242 | 302 | |||||||||||
JMⅡJ20 | 35500 | 56000 | 1800 | 120、125 | 167 | 212 | 200 | 480 | 350 | 38±0.9 | 275 | 89 | 6028 |
130、140、150 | 202 | 252 | |||||||||||
160、170、180 | 242 | 302 | |||||||||||
190、200 | 282 | 352 | |||||||||||
JMⅡJ21 | 40000 | 63000 | 1700 | 120、125 | 167 | 212 | 210 | 500 | 370 | 38±0.5 | 320 | 89 | 7.68 |
130、140、150 | 202 | 252 | |||||||||||
160、170、180 | 242 | 302 | |||||||||||
190、200 | 282 | 352 | |||||||||||
JMⅡJ22 | 50000 | 80000 | 1600 | 140、150 | 202 | 252 | 220 | 540 | 380 | 44±0.1 | 400 | 110 | 11.6 |
160、170、180 | 242 | 302 | |||||||||||
190、200、220 | 282 | 352 | |||||||||||
JMⅡJ23 | 63000 | 100000 | 1450 | 140、150 | 202 | 252 | 240 | 600 | 410 | 50±0.1 | 560 | 145 | 19.8 |
160、170、180 | 242 | 302 | |||||||||||
190、200、220 | 282 | 352 | |||||||||||
240 | 330 | 410 | |||||||||||
JMⅡJ24 | 80000 | 125000 | 1400 | 160、170、180 | 242 | 302 | 255 | 620 | 440 | 50±0.1 | 620 | 145 | 23.6 |
190、200、220 | 282 | 352 | |||||||||||
240、250 | 330 | 410 | |||||||||||
JMⅡJ25 | 90000 | 140000 | 1300 | 180 | 242 | 302 | 275 | 660 | 480 | 50±0.1 | 740 | 145 | 31.9 |
190、200、220 | 282 | 352 | |||||||||||
240、250、260 | 330 | 410 | |||||||||||
280 | 380 | 470 | |||||||||||
JMⅡJ26 | 112000 | 180000 | 1200 | 180 | 242 | 302 | 295 | 720 | 510 | 60±1.4 | 970 | 190 | 50.4 |
190、200、220 | 282 | 352 | |||||||||||
240、250、260 | 330 | 410 | |||||||||||
280、300 | 380 | 470 | |||||||||||
JMⅡJ27 | 140000 | 200000 | 1150 | 220 | 282 | 352 | 300 | 740 | 520 | 60±1.4 | 1050 | 190 | 57 |
240、250、260 | 330 | 410 | |||||||||||
280、300 | 380 | 470 | |||||||||||
JMⅡJ28 | 160000 | 224000 | 1100 | 240、250、260 | 330 | 410 | 320 | 770 | 560 | 60±1.4 | 1200 | 215 | 69.4 |
280、300 | 380 | 470 | |||||||||||
JMⅡJ29 | 180000 | 280000 | 1050 | 250、260 | 330 | 410 | 350 | 820 | 600 | 60±1.4 | 1400 | 215 | 95.5 |
280、300、320 | 380 | 470 | |||||||||||
340 | 450 | 550 | |||||||||||
JMⅡJ30 | 280000 | 450000 | 1000 | 280、300、320 | 380 | 470 | 350 | 875 | 620 | 50±1.6 | 1400 | 235 | 96.5 |
340、360 | 450 | 550 | 109.5 | ||||||||||
JMⅡJ31 | 400000 | 630000 | 930 | 300、320 | 380 | 470 | 350 | 935 | 630 | 60±1 | 1800 | 290 | 142 |
340、360、380 | 450 | 550 | 152 | ||||||||||
400 | 540 | 650 | 162 | ||||||||||
JMⅡJ32 | 450000 | 710000 | 880 | 320 | 380 | 470 | 380 | 1030 | 690 | 60±1 | 2250 | 330 | 194 |
340、360、380 | 450 | 550 | 224 | ||||||||||
400、420 | 540 | 650 | 240 | ||||||||||
JMⅡJ33 | 560000 | 900000 | 820 | 360、380 | 450 | 550 | 400 | 1080 | 726 | 66±2.2 | 2750 | 390 | 271 |
400、420、440、450、460 | 540 | 650 | 325 | ||||||||||
JMⅡJ34 | 1000000 | 1600000 | 740 | 400、420、440、450、460 | 540 | 650 | 460 | 1160 | 836 | 70±2.3 | 3500 | 450 | 387 |
460、480、500 | 540 | 650 | 465 | ||||||||||
JMⅡJ35 | 1400000 | 2240000 | 680 | 440、450、460、480、500 | 540 | 650 | 520 | 1290 | 946 | 82±2.6 | 5000 | 570 | 750 |
530、560 | 680 | 800 | 810 | ||||||||||
JMⅡJ36 | 2000000 | 3150000 | 620 | 480、500 | 540 | 650 | 570 | 1410 | 1040 | 92±2.8 | 6600 | 710 | 1050 |
530、560、600 | 680 | 800 | 1290 | ||||||||||
JMⅡJ37 | 2800000 | 4000000 | 570 | 450、460、480、500 | 540 | 640 | 610 | 1530 | 1100 | 105±3 | 8400 | 880 | 1630 |
530、560、600、630 | 680 | 800 | 1950 | ||||||||||
JMⅡJ38 | 4000000 | 6000000 | 520 | 560、600、630 | 680 | 800 | 670 | 1670 | 1210 | 115±3.7 | 11000 | 1050 | 2670 |
670、710 | 780 | - | 3030 | ||||||||||
JMⅡJ39 | 5000000 | 8000000 | 480 | 600、630 | 680 | 800 | 730 | 1830 | 1320 | 125±3.7 | 14500 | 1350 | 4060 |
670、710、750 | 780 | 4800 | |||||||||||
JMⅡJ40 | 6300000 | 10000000 | 430 | 670、710、750 | 780 | - | 800 | 2000 | 1450 | 130±4 | 19000 | 1600 | 6600 |
800、850 | 880 | - | 7500 | ||||||||||
JMⅡJ41 | 8000000 | 12500000 | 400 | 750 | 780 | - | 800 | 2200 | 1600 | 140±4.4 | 25000 | 1850 | 10400 |
800、850 | 880 | - | 11900 | ||||||||||
JMⅡJ42 | 10000000 | 16000000 | 350 | 800、850 | 880 | - | 960 | 2400 | 1760 | 140±4.4 | 32000 | 2100 | 15200 |
900、950 | 980 | - | 17400 |


